產品中心PRODUCT CENTER
聯(lián)系方式contact us
深圳昱燦電子有限公司
電話:0755-27933516
聯(lián)系人:石先生/譚小姐/李先生
地址:深圳市寶安區(qū)79區(qū)寶民二路好運來商務大廈B座
E-mail:[email protected]
網址:m.xagbzl009.com.cn
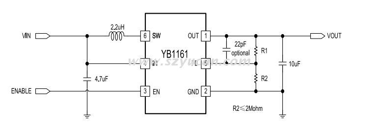
YB1161低輸入工作電壓1uA極低靜態(tài)待機電流高效DC升壓轉換芯片,輸出關斷 輸入輸出反向電流保護 輸出電壓可調 超低功耗升壓
昱燦 YB1161S2G SOT23-6 DC-DC同步升壓 5V 1uA功耗高效同步升壓 ADJ 1uA靜態(tài)
主要應用領域: 藍牙模塊,安防,監(jiān)控模塊,
引腳兼容型號: SY7072 ETA1061 ETA1060
YB1161S2G.PDF
昱燦 YB1161S2G SOT23-6 DC-DC同步升壓 5V 1uA功耗高效同步升壓 ADJ 1uA靜態(tài)
主要應用領域: 藍牙模塊,安防,監(jiān)控模塊,
引腳兼容型號: SY7072 ETA1061 ETA1060
YB1161S2G.PDF



YB1161 產品手冊/數據手冊/PDF下載
YB1161S2G.PDF
YB1161 PIN TO PIN替代型號: SY7072,ETA1061更多產品資料 產品選型 報價 定貨請聯(lián)絡業(yè)務人員


